BDH循環式環保噴砂機最大特點是可循環、環保、一機多用,根據回收動力不同可分為電動和氣動2個系列,均采用壓縮空氣為動力,將磨料高速噴射到工件表面實現除銹、粗化,適用于大中小型工件及高硬度工作的快速噴砂,如:船舶、油罐、橋梁、礦山機械、專用車、工程機械等大型結構工件。
九通循環式環保噴砂機具有自動化程度高、智能操作、運行穩定、砂料粉塵100%回收、表面處理等級可達Sa3級等優勢,并在眾多噴砂房項目中使用,您可放心選購!
免費熱線:400-901-8969 微信手機號:17316910092
ug環球會員登錄,環球ug在線注冊宣傳冊.pptx
1.循環式環保 噴砂機 產品優勢
自動化程度高:砂料、粉塵自動分選、回收、循環使用
自動加砂:砂罐加砂只需將料管插入砂中,按加料件自動上料
高效降成本:一臺機器可同時具備開放式、環保循環回收式各項功能,當工作任務繁重時,可啟用開放式噴砂機,再啟動回收系統,即可成為自動連續式噴砂機,免除停機人工加砂和清砂清灰工序,大大提高了工作效率。
表面處理效果好:表面處理等級可達最高Sa3級
環保整潔:砂料、粉塵100%回收,現場無需清砂清灰,工作人員無需穿防護服
噴砂半徑廣:1M-70M,大中小型工件都可適用
2.公司優勢
集現場勘測、設計、生產、安裝、售后一站式服務
10+年行業經驗,案例眾多,免費設計非標解決方案
誠信做人做事,不偷工減料,保品保工期,做良心項目
合同質保金、質保2年,我們有信心
循環式環保噴砂機廣泛應用于機械、船舶、橋梁、鐵路、石油管道、鍋爐和港口建設等行業的鋼結構表面除銹、表面強化;也可用于金屬、玻璃、石材等的表面雕刻、噴花裝飾性處理,如果配上內壁噴砂器,就可以對管道內壁進行噴砂處理。單獨使用也可用作工業吸塵器。
| 電動模式 | 氣動模式 |
開放式電動系列采用壓縮空氣為動力,將磨料高速噴射到工件表面除銹、粗化,再通過真空泵產生負壓,回收砂料和粉塵,并在設備內部的砂塵分離器自動進行砂塵分離,完整的砂料繼續循環使用,粉塵及銹污則進入粉塵桶等待定期清理,在整個工作過程中噴砂、回砂、砂塵分離、砂料循環、粉塵過濾等所有動作自動完成。 | 氣動式循環回收噴砂機同樣采用壓縮空氣為動力,將磨料高速噴射到工件表面除銹、粗化,但它的回收動力是通過獨特的空氣動力真空發生器產生負壓,回收砂料和粉塵,并在設備內部的砂塵分離器自動進行砂塵分離完整的砂料繼續循環使用,粉塵及銹污進入粉塵桶等待定期清理,在整個工作過程中噴砂、回砂、砂塵分離、砂料循環、粉塵過濾等所有動作自動完成。 |
|
|
在開放式噴砂模式噴砂時,噴砂、回砂、砂塵分離砂料循環粉塵過濾等動作自動完成,工作效率提高近一倍,但有粉塵污染。而氣動式循環回收式噴砂機工作環境無污染,并且整個作業采用氣動原理,設備沒有電器發熱元件,特別適合在用電不方便或有防爆、防漏電要求的場合施工。
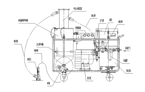
![]() | 循環式環保噴砂機擁有獨立的噴砂部份,磨料容量大大提高,并且有不同罐徑可選,客戶可根據實際應用來選擇相對應的型號;噴砂機壓力罐容器由鍋爐鋼板焊接而成,所有的焊縫都要做磁粉檢驗,并且做壓力實驗,技術指標完全達到國家安全技術指標標準,罐體表面噴漆處理(二層防銹漆,一層面漆)。罐體中部配置檢修口方便工人裝拆及檢修。砂量調節閥采用手動控制,操作工人可根據噴砂要求調節空氣的流量和砂料的流量大小,使空氣流量和砂料流量得到理想的混合比,提高噴砂加工效率。 |
| 噴砂罐直徑 | 600 | 700 | 800 | 900 | 1000 | 因為物料密度有差異, 裝料量有所區別 | |
| 容積(m3) | 0.18 | 0.3 | 0.46 | 0.63 | 1 | ||
裝料量 (kg) | 棕剛玉 | 351 | 585 | 897 | 1229 | 2458 | |
| 碳化硅 | 300 | 500 | 760 | 1046 | 2092 | ||
| 鋼丸(砂) | 801 | 1335 | 2047 | 2800 | 5600 | ||
| 石英砂 | 306 | 475 | 629 | 850 | 1700 | ||
![]() | ![]() | ![]() | ![]() | ![]() |
| 砂閥 | 回轉加料閥 | 截止閥 | 高速噴砂槍 | 噴砂管 |
控制砂料開啟及關閉、無極調整噴砂量,安裝在噴砂主機底部,九通采用進口CLEMCO氣動控制噴砂閥,氣夾式控制方式,具有精確性高、出砂量大、出砂均勻、調整方便、安全可靠、使用壽命長(3000小時以上)等優勢,客戶也可選湯姆遜或國產砂閥 | 控制砂料的開啟及關閉、調整噴砂流量,安裝在噴砂主機頂部,夾套式結構,驅動部分為一膜片氣缸,性能穩定可靠、幾乎無需維護、出砂量大、控制靈敏,且噴砂罐上安裝料位傳感器,有利于人員辨別噴砂罐加砂量,當砂料達到設定值,回轉加料閥自動關閉,簡單高效。 | 回轉加料閥在更換或維修時可將截止閥關閉,這樣在更換、維修回轉加料閥時就不需要將砂料全部放出,省時省力;該閥九通最新開發,終身免維護、維修 | 自主研發設計的高速噴砂槍,文氏形噴管,其材質均采用碳化硼制造,使用壽命長,可使用壽命800-1000小時;文氏管噴槍與普通噴槍比,噴砂速度快,工作效率可提高50%,工作效率可達到35m2/h,且反沖力小,高效省力。 | 采用耐磨專用噴砂管,型號為φ32*51*20m,噴砂管一端配靈活便捷的快速接頭,另一端配噴嘴接頭 |
![]() | 循環式環保噴砂機擁有獨特的磨料、粉塵分離裝置,可以調節磨料和粉塵的分離等級,當選用不同直徑或密度磨料時,所產生的粉塵顆粒的大小和密度也是不一樣的,通過調節分離器,可以準確地將磨料和粉塵分離開來,不會將磨料當作粉塵帶走,也不會將粉塵當作磨料留下來。 |
| 項目名稱 | 參數/規格 | ||||
|---|---|---|---|---|---|
| 噴砂部份外形尺寸 | Φ600×1434 | ||||
| 回收部份外形尺寸 | 長1700×寬700×高1800 | ||||
| 電源 | 三相380V,50Hz | ||||
| 功率 | 5.5-8kw | ||||
| 工作壓力 | 0.6-0.7MPa | ||||
| 磨料種類 | 金剛砂、棕剛玉、銅礦渣、塑料丸等 | ||||
| 表面處理等級 | Sa2.5-3 | ||||
| 耗氣量 | 2.2-6m3/min | ||||
| 磨料粒度 | 小于2mm | ||||
| 噴砂效率 | 10-15㎡/h | ||||
| 重量 | 噴砂部份(以Φ600的罐體為例)227kg 回收部份150kg |
備注:設備尺寸均為參考,可以根據客戶產品尺寸設計制作。
如想量身定制或了解更多產品,如 噴砂房 、噴漆房等,可加微信咨詢:

掃一掃立即溝通銷售
| 序號 | 圖號 | 名稱 | 備注 | 正常使用時間 |
|---|---|---|---|---|
| 3 | T02.L06 | 密封圈 | 3000—4000小時 | |
| 14 | T02.B04 | 噴砂管 | 內徑1",10m | 2500—3000小時 |
| 15 | 回收管 | 內徑Φ50 | 2500—3000小時 | |
| 24 | 濾芯 | 6個月—1年 | ||
| 25 | T02.L03.03 | 耐磨襯套 | 2000—3000小時 | |
| 26 | T02.L03.05 | 閥套 | 2000—3000小時 | |
| 28 | T02.L02.04 | 小膜片 | 3000—4000小時 | |
| 29 | T02.L02.05 | 大膜片 | 3000—4000小時 | |
| 32 | 70-02 | 噴嘴 | 碳化硼 | 800—1200小時 |
| 34 | 70-08 | 護套 | 3000—4000小時 | |
| 35 | 70-10 | 連接套 | 5000—10000小時 | |
| 36 | 70-11 | 毛刷 | 80—120小時 |
注:部分備件根據具體使用情況更換,不同磨料對于使用情況有所影響,備件除磨損到不可使用需要更換,使用時間可部分延長。
1.我公司所有產品保修期為兩年(易損件除外),自驗收合格之日起計算。質保期內,買方應按賣方提供的隨機文件的規定使用和設備保養。
2. 賣方在產品驗收培訓期間無償為買方培訓1-2 名操作及維修人員,并無償為買方提供電話技術咨詢服務。
3. 賣方對其設備進行終身維護,超過保質期限的設備,賣方收取相應的維修費用。
4. 質保期內如有零部件損壞,自更換該零部件起,再對該零件重新計算質保期在質保期內,非因買方使用不當原因損壞的電器元部件,賣方無償提供設備維護和更換零部件(易損件除外),接到買方通知后4小時給予答復,24小時內到現場,48小時內解決問題。
5. 質保期內售后服務由賣方免費負責。賣方自接到服務通知始24 小時內給買方作出書面響應;對買方不能自行解決的問題賣方工程師應在3個工作日內到用戶現場進行維修。
6. 對質保期外買方的維修人員無法自行排除的設備故障,賣方工程師須提供免費電話、傳真解答。賣方應對該設備的配置和制造質量負責,整機應符合相關的制造標準和安全.環保要求。
7. 配件的訂購。我公司設有產品零備件倉庫,長期提供備件及相應的售后服務,買方提前以傳真形式書面通知賣方,賣方提供的設備配件保證是原廠正品的配套件,賣方應及時回復買方供貨時間、費用的情況,并在收到買方有效付款憑證后,保證在的48小時內發貨,以保證用戶使用。
8. 賣方每月對設備進行一次售后跟蹤,進行客戶回訪,及時溝通解決買方在使用中的問題 。